le rectangle_fiche 6ème collège

 

4ème collège

Retour vers la liste des cours de 4ème

 

 

Vers le corrigé  ( le lien n’est pas activé)

 

Pré requis:

 

Le parallélogramme

ENVIRONNEMENT du dossier:

Index     «warmaths »

Objectif précédent ::

Le parallélogramme  Sphère metallique

1°) le rectangle activités découvertes.

2°) Voir travaux classe 6ème :rectangle et propriétés.

3°) Voir travaux sur  : le quadrilatère en 5ème.

Objectif suivant :

 

1.      Le rectangle ce qu’il faut savoir et retenir.

2.        Le losange

3.       le carré

4.       

Info+ :

1.       Liste des  quadrilatères

2.      Liste des cours de géométrie..

3.      Fiches activités de géométrie (à consulter)

 

DOSSIER : LE  RECTANGLE en 4ème    

 

 

Fiche 1 : le rectangle. (définition , propriétés ,…)

 

 

Fiche 2 : Comment reconnaître qu’un quadrilatère est rectangle ?

 

 

TEST

           FilesOfficeverte

COURS

                FilesOfficeverte

Devoir  Contrôle FilesOfficeverte

Devoir évaluation FilesOfficeverte

Interdisciplinarité

 1°) périmètre du rectangle.

)Aire du rectangle                        

 

Corrigé Contrôle  FilesOfficeverte

Corrigé évaluation  FilesOfficeverte

 

 

 

 

 

3°) Fiche spécifique de travaux en lien avec le rectangle

 

 

 

 


 

 

 

Le rectangle

 

 

Définition : On appelle  « rectangle » tout parallélogramme ayant un angle « droit ».

orthogonalite_10_5_013

 

 

Puisqu’un rectangle est d’abord un parallélogramme , alors il possède toutes les propriétés du parallélogramme.

Il en possède d’autres ( étudiées en 6ème  et  5ème  ).

 

Nous allons les récapituler ci-dessous.

 

 

 

Propriété 28 :

Si un quadrilatère est un rectangle alors ses côtés consécutifs sont  perpendiculaires .

 

 

 

Ce qui revient à dire : ses 4 angles sont des angles droits.

 

 

 

 

 

Propriété 29 :

Si un quadrilatère est un rectangle alors il possède deux axes de symétrie qui sont les médiatrices  des côtés opposés.

 

 

 

Activité : Tracez ces axes sur la figure ci-dessus.

 

 

 

 

 

Propriété 30 :

Si un quadrilatère est un rectangle alors ses diagonales se coupent en leur milieu .

 

 

 

 

 

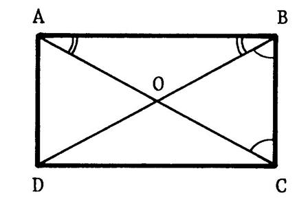
Activité 1 :

Considérons le rectangle « ABCD » ci-contre.

 

Puisque tout rectangle est un parallélogramme  , alors grâce à la propriété n°8 , ses diagonales se coupent en leur milieu .

Soit « O »  ce point .

D’après la propriété « 30 » ,

  les diagonales ont même mesure donc «  OA = OB = OC = OD ».

Donc  les 4 points « A » , « B », « C » , « D » sont situés sur le cercle de centre  « O ».

 

Activité : Tracez ce cercle sur la figure.

 

orthogonalite_10_5_014

 

 

Théorème 4 .

Si un quadrilatère est un rectangle , alors ses sommets sont situés sur un cercle.

Le centre de ce cercle est le centre du rectangle.

 

 

 

 

 

On dit que le rectangle  est inscrit dans le cercle.

Le cercle est appelé « cercle circonscrit »  au rectangle.

 

 

 

 

 

Activité n° 2 

 

Dites  en l’expliquant si la réciproque de ce théorème est vraie.

 

Illustrez votre réponse en complétant le dessin ci-contre.

orthogonalite_10_5_015

 

 

 

 

 

Activité n° 3

« EFG » est un triangle rectangle en « F ».

« H » , « I » ,  «J » sont les milieux respectifs de  [  FG ]  ,  [GE ] ,  [EF].

Démontrez que « FHIJ » est un rectangle .

 

 

 

 

 

Activité n° 4

« KLM » est un triangle rectangle en « L ».

« N » est un point de [ KM ]

On trace par « N » la parallèle à ( LM ) qui coupe ( L K ) en « P ».

On trace par « N » la parallèle à ( LK ) qui coupe ( L M ) en « R ».

Démontrez que «  LN = PR ».

 


 

 

Fiche 2 : Comment reconnaître qu’un quadrilatère est rectangle ?

 

 

La première façon de reconnaître un rectangle c’est partir de sa définition.

Mais voici une autre façon que vous avez étudiez dans les niveaux précédents :

 

 

 

Propriété 29 :

Si un quadrilatère a ses côtés consécutifs perpendiculaires alors ce quadrilatère est un rectangle.

 

 

 

 

 

On peut dire aussi   que  «si un quadrilatère a 3 angles droits alors c’est un rectangle ».

 

(vous pouvez expliquer pourquoi (verbalement) il suffit de trois angles droits.) 

 

 

 

 

 

Activité n°1

 

« ABCD » est un parallélogramme de centre « O ».

Ses diagonales [ AC ]  et [ BD ]  ont même longueur.

Nous devons prouver que « ABCD » est un ..rectangle..

 

 

Hypothèse

-         ………….

-        ……………………………………………..

Conclusion :

 

orthogonalite_10_6_001

 

 

Démonstration :

Puisque « ABCD » est un parallélogramme, alors grâce à la propriété n°8 : « O » est le milieu de [ AC ]   et de  [ BD ].

Et comme par hypothèse , « AC = BD »  alors  «  OA  = OB  =  OC  = OD » .

Donc , par définition , « AOB » et « BOC » sont des triangles  isocèles.

 

Donc , d’après la propriété « 24 » ,   =      et     =      .

Dans le triangle « ABC », la somme des angles est égale à   180°   ( propriété 6)

 

Donc : ,   +      +     +      =  360° .

En  tenant compte des deux égalités précédentes , on peut écrire :

2       +   2      =    360..° or , ,   +    =       donc    =  90°

 

Et comme par hypothèse , « ABCD » est un parallélogramme , alors grâce  à la …………………………………………………, « ABCD » est un ……………………………………..

 

 

 

Théorème 5 :

Si un parallélogramme a ses diagonales de même longueur alors ce parallélogramme est un rectangle.

 

 

 

 

 

Autre façon :

Si dans un quadrilatère les diagonales ont même longueur et se coupent en leur milieu alors ce quadrilatère est un rectangle.

 

 

 

 

 

Activité n°2

 

[ EF]  et [ GH ]  sont deux diamètre du cercle .

Démontrez que  « EGFH » est un rectangle.

orthogonalite_10_6_002

 

 

 

 

 

Activité n°3

 « ABCD » est parallélogramme.

 

-        La bissectrice de    coupe la bissectrice de   en « E » et la bissectrice de   en « H ».

-        La bissectrice de    coupe la bissectrice de   en « F » et la bissectrice de   en « G».

 

1°) Démontrez que  est droit.

2°) Démontrez que « EFGH » est un rectangle.

orthogonalite_10_6_003

 

 

 

 

 

Fait le 9 oct.2014

 


 

 

 

 

 

TRAVAUX AUTO FORMATIFS.

CONTROLE :

Quelles sont les caractéristiques ( propriétés ) du rectangle   ?

 

EVALUATION

 

Tracer :

1°) Rectangle ABCD tel que AB = 55mm et AD = 35 mm

 

2°) Rectangle ABCD de diagonale 5 cm et de côté AB = 20 mm

 

3°) En +++ :  Rectangle  ABCD de diagonale 55 mm et tel que = 60°

 

4°)  En plus : rectangle ABCD de longueur triple de la largeur et de périmètre 16 cm .

 

 

 

Refaire les activités proposées dans les deux fiches.

 

 

 

 

INTERDISCIPLINARITE

 

 

 

 

 

 

 

 

 

 

 

 

 

;