|
|
Classe collège 6ème :Fiche de travail ….. |
||
|
|
|||
|
|
|||
|
CORRIGE de la fiche : |
|||
ENVIRONNEMENT du dossier:
CORRIGE de la fiche :
Le volume du « PARALLELLEPIPEDE RECTANGLE » ou « prisme rectangulaire » ou
« pavé droit »
.
|
|
1°) Mesure du volume d’un parallélépipède rectangle. |
|
|
|
2°) Unités de volume – Système métrique. |
|
|
|
3°) Changement d’unité : conversion. |
|
|
|
4°) Unités de capacité. |
|
|
|
5°) Calcul du volume du parallélépipède rectangle et du cube. |
|
|
|
6°) Situations problèmes. |
|
|
|
|
|
|
TEST |
COURS |
Autres
travaux |
|
||||
|
|
|
|
Travaux niv VI et V: |
Autres travaux : |
|
|
|
|
|
FICHE de travail : |
|
||||||||||||||||||
|
|
|
|
||||||||||||||||||
|
|
·
Mesure du
volume d’un parallélépipède rectangle. |
|
||||||||||||||||||
|
|
On décide de prendre « le cube » comme
« cube unité » Nous appellerons « U » cette unité. |
|
|
|||||||||||||||||
|
|
|
|
||||||||||||||||||
|
|
Considérons le parallélépipède rectangle, ci contre , vu en perspective (info +++).
On se propose de déterminer par le dénombrement combien de « cube unité » composent ce parallélépipède. Procédure : Nombre de cubes sur la longueur de face : ……10….. Nombre de cubes sur la profondeur : ………7…….. Nombre de cubes constituant une couche : 10 … Nombre de
couches : …5…… Nombre total de cubes : 70 … |
|
|
|||||||||||||||||
|
|
En définitive, le nombre total de cube est obtenu en
effectuant le produit : ……10 …. |
|
||||||||||||||||||
|
|
On dit alors que le nombre « 350 » est
la mesure , avec l’unité « U » , du volume du parallélépipède
rectangle. En appelant »V » le volume du parallélépipède
, on peut écrire : « V = 350 U » |
|
||||||||||||||||||
|
|
|
|
||||||||||||||||||
|
|
De la même façon : avec l’unité
« U ». La mesure du volume du cube ci-contre
est obtenue en effectuant le produit : ……5
…. |
|
|
|||||||||||||||||
|
|
|
|
||||||||||||||||||
|
|
Figure
1 : De la même
façon : avec l’unité « u’ » |
Figure
2 : De la même
façon : avec l’unité « u » |
|
|||||||||||||||||
|
|
|
|
|
|||||||||||||||||
|
La mesure du volume du
parallélépipède est : ……7 u’…. |
La mesure du volume du
parallélépipède est : ……7 u…. |
|||||||||||||||||||
|
|
|
|
||||||||||||||||||
|
|
|
|
||||||||||||||||||
|
|
2°) Unités de volume – Système métrique. |
Info 1
plus : système métrique. Info 2 plus : les unités de volume et
capacité. |
|
|||||||||||||||||
|
|
Nous avons vu les unités de longueur : dont
l’unité principale est le « mètre »…… |
|
||||||||||||||||||
|
|
Et les unités de volumes sont définies à partir
des unités de longueurs. |
|
||||||||||||||||||
|
|
Le « mètre cube » est le volume d’un cube dont la longueur de l’arête est
« 1 » mètre. |
|
||||||||||||||||||
|
|
|
|
||||||||||||||||||
|
|
Il en est de même pour les autres unités . |
|
||||||||||||||||||
|
|
Par exemple : -
Le « décimètre
cube » est le volume d’un cube dont la longueur
de l’arête est « 1 » décimètre. -
Le « centimètre
cube » est le volume d’un cube dont la longueur
de l’arête est « 1 » centimètre. -
Le « millimètre
cube » est le volume d’un cube dont la longueur
de l’arête est « 1 » millimètre……… |
|
||||||||||||||||||
|
|
|
|
||||||||||||||||||
|
|
Symbole d’écriture : · Le symbole du mètre cube est « m 3 »
· Celui du décimètre cube est …« dm 3 » · Celui du centimètre cube est …« cm 3 » · Celui du millimètre cube est …« mm 3 » · ……………… |
|
||||||||||||||||||
|
|
Correspondance : 1 mètre cube vaut
……………………décimètres cubes.. Considérons un cube de « 1 m » de côté.
Son volume est donc « 1 m3 »
Cherchons combien il contient de cubes de « 1
dm » d’arête soit le cube dont le
volume est de « 1 dm3 ». En faisant le même raisonnement qu’au chapitre
« 1° » et sachant que
« 1 m = 10 dm » Vous pouvez dire que le nombre de cubes cherché
est : ……10…. |
|
||||||||||||||||||
|
|
On peut alors
écrire : |
« 1 m3 » =
« 1 000 dm3 » |
|
|
||||||||||||||||
|
|
Complétez le tableau ci-dessous : |
|
||||||||||||||||||
|
|
Unité |
Symbole |
Correspondance avec le
mètre cube. |
|
||||||||||||||||
|
mètre cube |
« m 3 » |
|
|
|||||||||||||||||
|
décimètre cube |
« dm 3 » |
« m 3 » =……1 000 ………«dm 3 » |
« dm 3 » =………0,001……«m 3 » |
|||||||||||||||||
|
centimètre cube |
« cm 3 » |
« m 3 » = ……1 000 000…..«cm 3 » |
« cm 3 » = ……0,000 001…..«m 3 » |
|||||||||||||||||
|
millimètre cube |
« mm 3 » |
« m 3 » =…1 000 000 000…«mm 3 » |
« mm 3 » =…0,000 000 001……«m 3 » |
|||||||||||||||||
|
|
Voir le tableau de
conversions…. |
|
||||||||||||||||||
|
|
|
|
||||||||||||||||||
|
|
Vous constatez que les unités successives vont de « 1000 » en « 1 000 ». Donc , dans des changements d’unités, on découpera
le nombre en tranches de «
..3.. » chiffres. |
|
||||||||||||||||||
|
|
Complétez : |
|
||||||||||||||||||
|
|
1 dm 3
= ………1 000…………….cm 3 |
1 cm 3
= …………1 000…………….mm 3 |
1 dm 3
= …1 000 000……….mm 3 |
|
||||||||||||||||
|
1 cm 3
= ………0,001………….dm 3 |
1 mm 3
= ……0, 001……….cm 3 |
1 mm 3
= …0,000 001………….dm 3 |
||||||||||||||||||
|
|
|
|
||||||||||||||||||
|
|
3°) Changement d’unité : conversion. |
|
||||||||||||||||||
|
|
|
|
||||||||||||||||||
|
|
|
« m 3 » |
« dm 3 » |
« cm 3 » |
« mm 3 » |
|
|
|||||||||||||
|
|
0 |
0 |
0 |
0 |
7 |
3 |
8 |
2 |
4 |
9 |
0 |
1 |
|
|||||||
|
|
|
|
|
|
|
|
|
|
|
|
|
|
|
|||||||
|
|
|
|
|
|
|
|
|
|
|
|
|
|
|
|||||||
|
|
|
|
|
|
|
|
|
|
|
|
|
|
|
|||||||
|
|
Dans le tableau ci-dessus, on a placé un nombre. On peut lire indifféremment : |
|
||||||||||||||||||
|
|
73,824901 dm3 |
Ou 0,073824901 m3 |
Ou 73 824,901 cm3 |
Ou 73824901 mm3 |
|
|||||||||||||||
|
|
|
|
||||||||||||||||||
|
|
Activité 1 : En plaçant dans le tableau les
nombres ci-dessous, faites les conversions. |
|
||||||||||||||||||
|
|
5 m3 487 dm3 12 cm3 |
= ……………………………. cm3 |
= ……………………………. dm3 |
= ……………………………. mm3 |
|
|||||||||||||||
|
78 cm3 134 mm3 |
= ……………………………. cm3 |
= ……………………………. dm3 |
= ……………………………. m3 |
|||||||||||||||||
|
963 m3 4 dm3 |
= ……………………………. m3 |
= ……………………………. dm3 |
= ……………………………. cm3 |
|||||||||||||||||
|
|
|
|
||||||||||||||||||
|
|
Corrigé |
« m 3 » |
« dm 3 » |
« cm 3 » |
« mm 3 » |
|
|
||||||||
|
|
0 |
0 |
0 |
0 |
7 |
3 |
8 |
2 |
4 |
9 |
0 |
1 |
|
||
|
5 m3
487 dm3 12 cm3 |
|
|
5 |
0 |
0 |
0 |
0 |
0 |
0 |
|
|
|
|
||
|
|
|
+ |
0 |
4 |
8 |
7 |
0 |
0 |
0 |
|
|
|
|
||
|
|
|
+ |
0 |
0 |
0 |
0 |
0 |
1 |
2 |
|
|
|
|
||
|
|
|
= |
5 |
4 |
8 |
7 |
0 |
1 |
2 |
|
|
|
|
||
|
|
|
|
|
|
|
|
|
|
|
|
|
|
|
||
|
78 cm3 134 mm3 |
|
|
|
|
|
|
|
7 |
8 |
|
|
|
|
||
|
|
|
|
|
|
|
|
+ |
|
|
1 |
3 |
4 |
|
||
|
|
= |
0 |
0 |
0 |
0 |
0 |
0 |
7 |
8 |
1 |
3 |
4 |
|
||
|
|
|
|
|
|
|
|
|
|
|
|
|
|
|
||
|
963 m3
4 dm3 |
9 |
6 |
3 |
|
|
|
|
|
|
|
|
|
|
||
|
+ |
|
|
|
|
|
4 |
|
|
|
|
|
|
|
||
|
= |
9 |
6 |
3 |
0 |
0 |
4 |
0 |
0 |
0 |
0 |
0 |
0 |
|
||
|
|
|
|
|
|
|
|
|
|
|
|
|
|
|
||
|
|
Activité 2 : Complétez le tableau
ci-dessous dans lequel chaque colonne correspond
à un même volume mais exprimé avec des unités différentes. |
|
||||
|
|
m3 |
0,53 |
0,000078529 |
0,000 000 64 |
0,00975268 |
|
|
dm3 |
530 |
0,078529 |
0,000 64 |
9,75268 |
||
|
cm3 |
530 000 |
78 , 529 |
0,64 |
9752,68 |
||
|
mm3 |
53 000 000 |
78 529 |
640 |
9752680 |
||
Corrigé :
On place les nombres dans le tableau , on complète les cases vides par des « zéros », ensuite il suffit de placer une virgule sur le trait vertical droit de l’unité cherchée..
|
|
|
« m 3 » |
« dm 3 » |
« cm 3 » |
« mm 3 » |
|
|
||||||||
|
|
0 |
0 |
0 |
5 |
3 |
0 |
0 |
0 |
0 |
0 |
0 |
0 |
|
||
|
|
0 |
0 |
0 |
0 |
0 |
0 |
0 |
0 |
0 |
6 |
4 |
0 |
|
||
|
|
0 |
0 |
0 |
0 |
0 |
9 |
7 |
5 |
2 |
6 |
8 |
0 |
|
||
|
|
0 |
0 |
0 |
0 |
0 |
0 |
0 |
7 |
8 |
5 |
2 |
9 |
|
||
|
|
|
|
|||||||||||||
|
|
4°) Unités de capacité. |
|
|||||
|
|
Il arrive souvent que l’on doit mesurer « la
quantité » de produit en poudre, grain
ou liquide,……. Pour cela on prendra un récipient
« contenant » pouvant mesurer ces produits. Ces contenants ont des « capacités »
déterminées. Les unités choisies portent le nom d’
« unités de capacité » . L’unité de capacité principale porte le nom de
« litre ». |
|
|||||
|
|
|
|
|||||
|
|
Le litre est la capacité d’un récipient dont le
volume intérieur est de « 1 dm3 ». 1 L = « 1 dm3 » |
|
|||||
|
|
|
|
|||||
|
|
Unité |
Symbole |
Correspondance avec le litre |
|
|||
|
Multiples usuels |
hectolitre |
hL |
1 hL =
100 L |
1 L =
0,01 hL |
|||
|
décalitre |
daL |
1 daL =
10 L |
1 L = 0,1 daL |
||||
|
|
Litre |
L |
|
|
|||
|
Sous multiples |
décilitre |
dL |
1 dL = 0,1 L |
1 L = 10 dL |
|||
|
centilitre |
cL |
1 cL = 0, 01 L |
1 L = 100 cL |
||||
|
millilitre |
mL |
1 mL = 0, 001 L |
1 L = 1 000 mL |
||||
|
|
|
|
|||||
|
|
Cherchez la correspondance avec 1 cm3 = 1 …………………. |
|
|||||
|
|
|
|
|||||
Info « warmaths » Voir le tableau de mesure des capacités.
L ' unité de capacité est : le litre ( L )
Tableau de conversion des
unités de capacité.
|
kl |
hl |
dal |
l |
dl |
cl |
ml |
|
|
|
|
|
|
|
|
|
|
|
|
|
|
|
|
|
|
|
|
|
|
|
|
Ci-dessous : le Tableau intégrant les mesures capacités….
|
km3 |
hm3 |
dam3 |
m3 |
dm3 |
cm3 |
mm3 |
||||||||||||||
|
|
|
|
|
|
|
|
|
|
|
|
kl |
hl |
dal |
l |
dl |
cl |
ml |
|
|
|
|
|
|
|
|
|
|
|
|
|
|
|
3 |
7 |
0 |
0 |
0 |
0 |
0 |
|
|
|
|
|
|
|
|
|
|
|
|
|
|
|
|
0 |
0 |
1 |
7 |
5 |
0 |
0 |
0 |
0 |
|
|
|
|
|
|
|
|
|
|
|
|
0 |
0 |
0 |
0 |
0 |
5 |
7 |
|
|
|
|
|
|
|
|
|
|
|
|
|
|
|
|
|
|
|
|
|
|
|
|
|
|
|
Activité 3 : |
|
|||||||||
|
|
Complétez le tableau ci-dessous. |
|
|||||||||
|
|
37 hL |
= ……3700…..L |
= ……0,37……. m3 |
= ……3700….. dm3 |
= ………370…..daL |
|
|||||
|
17,5 cL |
= ……1,75……..L |
= ……0,017…..hL |
= ………1750.. cm3 |
= …1750000. mm3 |
|||||||
|
0,000057 m3 |
= ……0,057…..L |
= ………57…. cm3 |
= ………57….m.L |
= ……0,00057..hL |
|||||||
|
|
|
|
|||||||||
|
|
Activité 4 : |
|
|||||||||
|
|
Rangez dans l’ordre croissant….. |
|
|||||||||
|
|
2350 cl |
0,05635 m3 |
18,25 l |
0,0809 hl |
16 300 cm3 |
85 cl |
|
||||
|
|
|
|
|
|
|
||||||
|
Convertissons !! |
En … litre |
|
|
|
|
||||||
|
|
|
|
|
|
|
||||||
|
|
|
|
|
|
|
||||||
|
|
|
|
|
|
|
||||||
|
|
|
|
|
|
|
||||||
|
|
|
classement |
m3 |
dm3 |
cm3 |
mm3 |
||||||||||||||
|
|
|
|
|
|
|
|
|
|
|
|
kl |
hl |
dal |
l |
dl |
cl |
ml |
|
|
|
|
|
|
|
|
|
|
|
|
5 |
|
|
|
|
2 |
3 |
5 |
0 |
|
|
|
|
|
|
|
|
|
|
|
|
|
6 |
|
|
0 |
0 |
5 |
6 |
3 |
5 |
|
|
|
|
|
|
|
|
|
|
|
|
|
4 |
|
|
|
|
1 |
8 |
2 |
5 |
|
|
|
|
|
|
|
|
|
|
|
|
|
2 |
|
|
|
0 |
0 |
8 |
0 |
9 |
|
|
|
|
|
|
|
|
|
|
|
|
|
3 |
|
|
|
|
1 |
6 |
3 |
0 |
0 |
|
|
|
|
|
|
|
|
|
|
|
|
1 |
|
|
|
|
|
|
8 |
5 |
|
|
|
|
|
|
|
|
|||||||||||||||||||
|
|
|
|
|||||||||||||||||||
|
|
5°) Calcul du volume du parallélépipède rectangle et du cube. |
|
|||||||||||||||||||
|
|
|
|
|||||||||||||||||||
|
|
a) Volume du parallélépipède rectangle. |
|
|||||||||||||||||||
|
|
Nous reprenons le parallélépipède rectangle vu ci-dessus.et le petit cube appelé « cube unité ». Si la longueur du côté du petit cube est de
« 1 cm » alors son volume sera de « 1 cm3 » ;
« lire : un
centimètre cube ». Les dimensions du parallélépipède rectangle sont
« 10 cm » , « 7cm »,
« 5cm ». D’après ce que l’on a vu sur le chapitre 1 , pour calculer son volume « V » en « cm3 » ,
on effectue le produit ……10 …. Et d’une manière générale : ( à retenir) |
|
|||||||||||||||||||
|
|
Une unité de longueur étant choisie,
« a », »b », »c » étant les dimensions d’un parallélépipède
rectangle son volume « V » (avec l’unité correspondante) est :
V =…a …. |
|
|
||||||||||||||||||
|
|
|
|
|||||||||||||||||||
|
|
A savoir 1 : |
|
|||||||||||||||||||
|
|
Le raisonnement vu au chapitre 1 a été fait avec
des nombres entiers. Dans le cas des nombres à virgule, il suffit
d’imaginer un changement d’unité donnant des nombres entiers et on se
retrouve dans la même situation. Exemples : « 5,3 ( nombre décimal) cm devient
53 mm (nombre entier) » ; « 1,25 m se convertit en 125 cm » |
|
|||||||||||||||||||
|
|
Activité 3 : |
|
|||||||||||||||||||
|
|
Calculez le volume du parallélépipède rectangle
dont les dimensions sont : 1,25 m , « 3,5 dm »
, « 250 mm ». Exprimez le résultat en centimètres cubes. |
|
|||||||||||||||||||
|
|
Conseils : il faut convertir tout en
centimètres. : « 1,25 m =125
cm » , « 3,5 dm = 35 cm » ,
« 250 mm = 25 cm». |
|
|||||||||||||||||||
|
|
V = 125 fois 35 fois 25 = 118 125
cm3 ou 118,125 dm 3 |
|
|||||||||||||||||||
|
|
|
|
|||||||||||||||||||
|
|
A savoir 2 : |
|
|||||||||||||||||||
|
|
« Aire latérale » On parle parfois d’aire latérale du
parallélépipède rectangle. L’aire latérale est l’aires
des 4 faces autres que le dessus et le dessous. Remarque 1 : si
votre chambre à la forme d’un parallélépipède, l’aire latérale est l’ aire des quatre murs , on exclut donc le sol et le
plafond de la chambre. Remarque 2 : la somme
des aires des 6 faces d’un parallélépipède est appelée « aire totale »
.( « on » dit parfois « surface totale ») |
|
|
||||||||||||||||||
|
|
|
|
|||||||||||||||||||
|
|
Activité 4 : |
|
|||||||||||||||||||
|
|
« a » |
« b » |
« c » |
« aire latérale » |
« Aire totale » |
« volume » |
|
||||||||||||||
|
120 cm |
30 cm |
5 cm |
2 (120 +
30) fois 5= ………1 500……..cm² |
…2 ( 120 + 30 ) + 1500 = ……1800…..cm² |
= …120 fois 30 fois 5=. 18 000 c
m3 |
||||||||||||||||
|
5 m |
30 dm = 3 m |
120 cm= 1,2 m |
………………………..m² |
………………………..m² |
= ……………. m3 |
||||||||||||||||
|
…………..dm |
7 m= 70 dm |
25 cm= 2,5 dm |
…74 fois 2,5 =…185.dm² |
185 +560 = 745..dm² |
= …700…. m3 |
||||||||||||||||
|
280 / 70= 4 |
|
|
Surface de base : 700/ 2,5 = 280 dm² |
|
|
||||||||||||||||
|
9 dm = 90 cm |
20 mm= 2 cm |
276 / 184=
1,5……cm |
………276…….cm² |
………………………..cm² |
= ……………. dm3 |
||||||||||||||||
|
125 mm |
50 / 12,5 = 4 cm = 40 .mm |
30 000 : (125fois40)= 6 .mm |
……19,8……..cm² |
…1, 198…..dm²= 119,8 cm² |
= ……30…. cm3 |
||||||||||||||||
|
|
|
|
|||||||||||||||||||
|
|
b) Volume du cube. |
|
|||||||||||||||||||
|
|
|
|
|||||||||||||||||||
|
|
Un cube est un parallélépipède rectangle
particulier dans lequel : « a =b= c ». Le volume du cube est alors : V = a |
|
|
||||||||||||||||||
|
|
|
|
|||||||||||||||||||
|
|
|
||||||||||||||||||||
|
|
« a » étant un nombre quelconque
, « a |
|
|||||||||||||||||||
|
|
Ainsi : « 2 |
|
|||||||||||||||||||
|
|
Et « 5
On dit que « 8 » est le cube de
« 2 » et que
« 125 » est le cube de
« 5 » . |
|
|||||||||||||||||||
|
|
|
|
|||||||||||||||||||
|
|
A
retenir |
|
|||||||||||||||||||
|
|
Une unité de longueur étant choisie, étant donné un
cube dont la mesure de la longueur de
l’arête est « a », son volume « V » (avec l’unité correspondante )
est « V = a 3
» |
|
|
||||||||||||||||||
|
|
Activité 5 : |
|
|||||||||||||||||||
|
|
Complétez le tableau donnant les cubes des 11
premiers entiers naturels. |
|
|||||||||||||||||||
|
|
a |
0 |
1 |
2 |
3 |
4 |
5 |
6 |
7 |
8 |
9 |
10 |
11 |
|
|||||||
|
a 3 |
|
|
|
|
|
|
|
|
|
|
|
|
|||||||||
|
|
0 3 |
1 3 |
2 3 |
3 3 |
4 3 |
5 3 |
6 3 |
7 3 |
8 3 |
9 3 |
10 3 |
a 3 |
|||||||||
|
|
0 |
1 |
8 |
27 |
64 |
125 |
216 |
343 |
512 |
729 |
1 000 |
1331 |
|||||||||
|
|
|
|
|||||||||||||||||||
|
|
Activité 6 :
(difficile : vous aider des résultats précédents ) |
|
|||||||||||||||||||
|
|
Quelle est la longueur de l’arête d’un cube dont
le volume est « 0,343 » dm3 :
réponse 0,7 dm
( voir le cour sur la
racine cubique d’un nombre) |
|
|||||||||||||||||||
|
|
Activité 7 :
(difficile : vous aider des résultats précédents ) |
|
|||||||||||||||||||
|
|
Quelle est la longueur de l’arête d’un cube dont
le volume est « 0, 000064 » dm3 :
réponse : 0,04 ( voir le cour sur la
racine cubique d’un nombre) |
|
|||||||||||||||||||
|
|
|
|
|||||||||||||||||||
|
|
Activité 8 :
(difficile : vous aider des résultats précédents ) |
|
|||||||||||||||||||
|
|
Le volume d’un cube est de « 300 ». On appelle « a » la mesure en
« cm » de son arête. Donnez les valeurs approchées à 0,1 prés par défaut et par excès de « a ». |
|
|||||||||||||||||||
|
|
|
|
|||||||||||||||||||
|
|
6°) Situations problèmes. |
|
|||||||||||||||||||
|
|
Pb
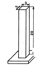
1 : Le récipient en verre ci-contre est un vase. C’est un parallélépipède rectangle dont les dimensions
intérieures sont « 3 cm » , « 3
cm », et « 20 cm » de hauteur. 1°) Il contient de l’eau. On immerge un objet. L’eau monte (sans déborder )
de 8 cm . Calculez le volume de cet objet
.*( 3 fois 3 fois 8 = 72 cm3 )
2°) On enlève l’objet et on immerge un petit cube
de « 25 mm » ( volume du cube : 25 fois 25 fois 25
= 15625mm3) Calculez l’élévation du niveau de l’eau ( en mm) 15625 / 900 = 17,36 mm environ soit 17 mm d’élévation… |
|
|
||||||||||||||||||
|
|
Pb
2: L’intérieur d’un bassin est un parallélépipède
rectangle dont les dimensions sont « 2,5 m » ,
« 4,4 m » et « 2,1 m » de hauteur. Il est rempli d’eau aux Calculez la quantité d’eau ( en
hL) qu’il contient
lorsqu’il atteint cette hauteur.. |
|
|||||||||||||||||||
|
|
Volume en mètre cube d’eau « ( 2,5
m x 4,4 m x 2,1 m ) Volume en litre d’eau = 15 400 dm3
soit 15 400 litres. |
|
|||||||||||||||||||
|
|
Pb
3: Un bloc de glace à une forme parallélépipédique.
Un parallélépipède qui a pour
dimensions : « 25 cm » , « 40cm » et « 60 cm ». 1°) sachant qu’un dm3 de glace pèse 0,918 kg , déterminez combien pèse ce
bloc (masse
en grammes) : 2°) Sachant qu’un litre d’eau pèse
« 1kg » , quelle est la qualité d’eau
obtenue en faisant fondre ce bloc ? ( litre ) |
|
|||||||||||||||||||
|
|
Volume du cube : 25 fois 40 fois 60
= 60 000 cm 3 ;
= 60 dm 3 ; calcul de la masse : 60 fois 0,918 =
55,08 kg = 55 080 g |
|
|||||||||||||||||||
|
|
Pb
4 : Sur un toit rectangulaire (horizontal) de 21 m sur
12m, il est tombé une couche de neige de 15 cm . La
neige donne en fondant les « 1/9 » de son volume en eau. Calculez la quantité d’eau ( en
litre) obtenue par la fonte de cette neige. Volume de la neige : 21 fois 12
fois 0,15 = 37,8 m3 ; soit 37 800 dm3 ; volume d’eau : 37 800 ( 1 / 9 ) = 4200 litres. |
|
|||||||||||||||||||
|
|
|
|
|||||||||||||||||||
|
|
|
|
|||||||||||||||||||
|
|
|
|
|||||||||||||||||||
|
|
|
|
|||||||||||||||||||
TRAVAUX AUTO
FORMATIFS.
CONTROLE :
Donner la définition d’un parallélépipède rectangle
.
1°) Faire une représentation graphique ( dessiner)
un parallélépipède rectangle en perspective cavalière .
2°)
|
Calculer : - la longueur d’une diagonale - l’aire de la surface latérale - l’aire totale - le volume du parallélépipède droit avec les données suivantes : a = b = c = |
|
3°)
|
Calculer : - la longueur d’une diagonale - l’aire de la surface latérale - l’aire totale - le volume du parallélépipède droit avec les données suivantes : a = b = c = h = |
|
INTERDISCIPLINARITE : voir @: dossier 219